网站首页 公司简介 产品展示 联系我们 行业资讯
 
郑州玉祥机械设备厂
13103833308
     
产品分类   更多》
容器罐槽系列
  提取浓缩系统
  搅拌乳化系列
  卫生级输送泵
  杀菌机清洗机
 
超高温瞬时灭菌机(瞬间杀菌机)
杀菌锅,卧式杀菌锅,高温杀菌锅
紫外线杀菌机(紫外线饮水消毒器)
热交换器:板式换热器
电加热除菌呼吸器,电加热呼吸器
CIP就地清洗罐,CIP就地清洗机
四头水槽式刷瓶机
圆盘式自动理瓶机供瓶机
  不锈钢胶体磨
  不锈钢夹层锅
  水处理过滤器
  包装机械设备
  灌装封口设备
  贴标机喷码机
  轧盖机锁口机
  果蔬饮料机械
  冬瓜蓉生产线
  淀粉真空脱水机
   
联系我们   更多》
联系方式:

地址:郑州市高新区莲花街316号 电子电器产业园

(圣世嘉业6号楼305)

电话:0371-63751608

传真:0371-63752708

手机:13103833308
 
杀菌机清洗机》卧式杀菌锅,电汽两用卧式杀菌锅
 
 


高温杀菌锅,高压杀菌锅,杀菌釜,杀菌罐 杀菌锅,卧式杀菌锅 高温杀菌锅,高压杀菌锅,杀菌釜,杀菌罐
卧式杀菌锅
卧式杀菌锅
电汽两用卧式杀菌锅


 概况:

  GT7C 型系列卧式杀菌锅是利用压缩空气作反压力的圆筒体杀菌设备,其锅盖锁紧形式是采用自锁楔块啮合方法,开闭启动方便,适应于罐头、饮料、牛奶、卤

制品等马口铁罐和玻璃罐罐头、塑料袋或耐蒸煮沸软包装物的实罐产品进行高温杀菌处理工作,以达到保质期内“商品无菌”的要求。

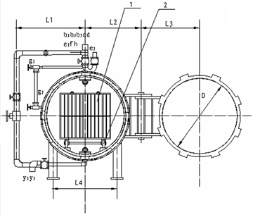
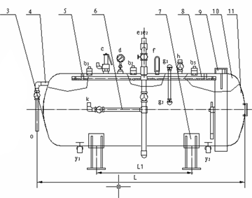
  GT7C 型系列卧式杀菌锅由锅体、锅盖、开启装置、锁紧楔块、安全联锁装置、轨道、灭菌筐、蒸汽喷管及若干管口等组成。锅盖密封采用充气式硅橡胶耐温密

封圈,密封可靠,使用寿命长。


操作说明:

  一般罐头食品厂对罐头作常压水煮加热杀菌处理时 都采用本形式的卧式杀菌锅,本设备通过引入压缩空气实现反压杀菌。如冷却需在锅内进行,须用水泵打入

锅顶部的喷水管(或采用水循环系统)。在杀菌时,由于加热使 罐头 温度升高, 罐头 内的压力会超过 罐 外(在锅内)的压力。因此,为了避免杀菌时 玻璃瓶

内增压而跳盖 , 对马口铁罐两端凸出 , 必须施加反压力,即是压缩空气通过锅内增加压力,防止 罐头凸罐和跳盖 ,其操作情况分述如下:

    由于压缩空气是不良导热体,况蒸汽本身又具有一定的压力,因此,在杀菌时升温过程中,不放进压缩空气,而只在 达 到杀菌温度后处于保温时,才开

放压缩空气入锅内,使锅内增加 0. 5 ~ 0. 8 个大气压 。待经过杀菌后,降温冷却时,停止供应 蒸 气,将冷却水压入喷水管。由于锅内温度下降,蒸 汽冷凝

,而使锅内力降低采用压缩空气的压力来补偿。

  在杀菌过程中,应注意最初排气,进而泄气,使蒸汽流通。亦可每 隔 15-20 分钟 放气一次,促进热交换。总之必须满足杀菌条件的规定,按一定程序进行,

杀菌温度的高低,杀菌压力的大小,杀菌时间的长短和操作方法等均由 罐头 产品的杀菌工艺作出具体规定。



主要技术参数:

设备型号

GT 7C720 型

GT 7C1200型

GT7C2000 型

GT7C2400 型

品种范围名称

低级压力容器

生产能力(罐 / 次)

720

1200

2000

2400

锅内径( mm)

900

1000

1100

1200

容积( M 3 )

1.2

2

3.5

4.2

设计温度

143℃

工作温度

123℃

设计压力

0.3MPa

工作压力

≤0.2MPa

工作介质

水、蒸汽、压缩空气

主要受压元件材质

A3

焊接系数

0.7

腐蚀裕度

1mm

蒸汽进口直径

DN40-50

排气(泄气)直径

DN32-40

冷热水连接直径

DN40-50

溢流管直径

DN25-50

排水管直径

DN40-50

安全阀直径

DN25-40

压缩空气直径

DN15-20

调节口直径

DN25-40

设备总重( kg)

600

1100

1700

2000

外形尺寸(长、宽、高)

2100×1300×1650

2800×1450×1700

3700×1600×1800

4000×1600×1900














 
     
备案/许可证号:豫ICP备09020040号-4
 
版权所有:郑州玉祥机械设备有限公司(Copyright www.food-machine.net